§ 133. ПЕСОЧНИЦА
Для увеличения сцепления колес с рельсами (см. § 63) и предупреждения боксования в необходимых случаях на рельсы под колеса паровоза подается сухой песок, запас которого находится в специальном резервуаре, называемом песочницей.
Боксование паровоза происходит при резком открытии регулятора во время трогания поезда с места. Явление боксования также бывает при движении поезда, особенно при следовании по подъему или кривой, когда рельсы покрыты дождевой водой, снегом или при попадании на рельсы смазки, в результате чего сила сцепления колес с рельсами уменьшается.
Песочница (рис. 279) с пневматическим (воздушным) приводом устроена следующим образом: на котле установлен корпус песочницы 1, заполняемый сухим мелким песком; у корпуса расположены форсунки 2, которые подают песок в трубы 3, идущие к колесам паровоза. В будке машиниста установлен кран 6, при помощи которого воздух направляется к форсункам по трубам 5; к крану песочницы воздух подведен от тормозного резервуара или от воздухораспределительной колонки.
Корпус песочницы изготовляют из листовой стали толщиной 2 мм и устанавливают или самостоятельно (паровозы Э, СО) или делают заодно с обшивкой сухопарного колпака (паровозы Л, ЛВ, ФД, ПЗб, Эр). На паровозе ФД имеются два корпуса песочницы, которые расположены с двух сторон сухопарного колпака. Сверху в корпусе сделан люк с сеткой для засыпки песка. Дно корпуса выполнено с двусторонним наклоном в сторону форсунок для того, чтобы песок самотеком ссыпался к ним. Песочница вмещает 500 — 800 кг песка.
Раньше пескопроводные трубы на различных сериях паровозов подводились к колесам по-разному, затем на основании опыта машинистов-новаторов и предложений ЦНИИ МПС подача песка под колеса паровозов Л, ЛВ, ФД, П36, СО, Е, Э, ТЭ унифицирована и производится под 1-ю колесную пару или бегунок, 2, 3 и 4-ю (см. рис. 279), а на паровозах Су — под 1, 2 и 3-ю колесные пары. На задний ход, где это предусмотрено, песок подается под 2-ю и 4-ю, а на паровозах Су — только под 3-ю колесную пару.
Опыт показал, что для повышения коэффициента сцепления песок обязательно нужно подавать под 1-ю сцепную колесную пару или бегунок (на паровозах, у которых он имеется). Подача же песка под ведущую колесную пару, у которой в эксплуатации наблюдается наибольшее нарастание проката бандажей, должна быть возможно меньшей.
Для достижения наиболее устойчивой силы сцепления колес с рельсами при унификации рекомендованы следующие режимы подачи песка под колеса паровозов:
первый режим (при трогании поезда с места) — одновременная подача песка под 1-ю колесную пару или бегунок, 2-ю и ч-ю (для паровозов Су — под 1-ю и 3-ю колесные пары);
второй режим (при установившемся движении поезда на площадках и подъемах) — постоянная подача песка под 1-ю сцепную колесную пару;
третий режим (в зависимости от условий ведения поезда) — одновременная подача песка под 1-ю колесную пару или бегунок, 2, 3 и 4-ю (для паровозов Су— под 1, 2 и 3-ю колесные пары). На этом режиме песочница должна работать не более 5—15% времени ее работы в зависимости от профиля пути.
Как видно из приведенных режимов работы песочницы, подача песка под ведущую колесную пару (третий режим) производится очень редко, благодаря чему уменьшается износ бандажей и увеличиваются пробеги между обточками.
Изменение режимов подачи песка осуществляют при помощи воздухораспределительного крана песочницы.
Пескопроводные трубы ставят размером РД". Чтобы подвести песок непосредственно к месту контакта бандажа с рельсом и избежать больших потерь его, на нижних концах пескопроводных труб устанавливают так называемые патрубки ЦНИИ. Выходное сечение патрубка в 2,5 раза меньше сечения трубы, поэтому скорость истечения песка будет во столько же раз больше, что уменьшает сдувание песка ветром.
Кроме описанных патрубков, применяют также нижние концы пескопроводных труб с воздушным соплом для принудительного распыла и направления струи песка. Такие сопла были поставлены на песочных трубах паровоза ЛВ первого выпуска. На паровозе П36 на концах песочных труб поставлены резиновые наконечники 4 (см. рис. 279).
Пескопроводные трубы выводят под колеса таким образом, чтобы нижние концы их находились на расстоянии 50 мм от головки рельса и были не ближе 20 мм от круга катания бандажа.
На основании проведенных сравнительных испытаний была разработана и установлена на некоторых сериях паровозов унифицированная форсунка (рис. 280), которая в значительной степени устраняет недостатки других предшествующих форсунок и обладает большей производительностью. Такая форсунка имеет чугунный корпус 3, с обоих концов которого сделана резьба — одна для укрепления к корпусу песочницы и другая для присоединения пескопроводной трубы. В поперечный канал д с одной стороны ввинчен штуцер 7, подводящий воздух от воздухораспределительного крана, а с другой — регулировочный винт 5.
Поперечный канал д соединен наклонным накалом е с нагнетательной камерой корпуса. Струя сжатого воздуха, вытекая из канала е, создает разрежение в корпусе форсунки и нагнетает песок в трубу. Одновременно из поперечного канала струя воздуха по продольному каналу к и наклонному каналу л попадает в корпус, разрыхляя песок у входа в форсунку и способствуя подаче его в нагнетательную камеру. Продольный канал с торца закрыт штифтом 4.
При помощи регулировочного винта 5 сечение отверстия м можно уменьшать, сокращая таким образом подачу песка в трубу. Винт 5 закрепляют гайкой 6. Для продувки и очистки камеры и каналов форсунки в корпусе просверлены два отверстия и поставлены пробки 1 и 2.
Форсунки песочницы регулируют таким образом, чтобы подача песка под колесные пары производилась в следующих соотношениях (в %):
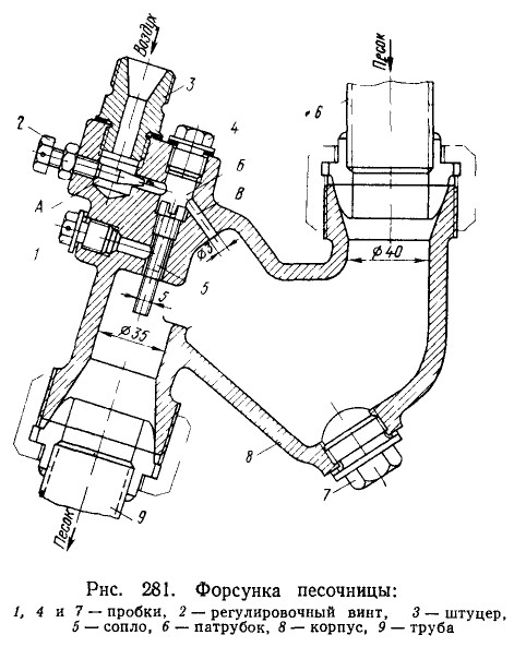
Форсунка песочницы с удлиненным соплом, установленная на паровозах Л, Л В, П36 и др., показана на рис. 281. Чугунный корпус 8 форсунки имеет коленообразную форму. К одному из отростков присоединен патрубок 6, приваренный к карману резервуара песочницы. По этому патрубку песок самотеком заполняет колено форсунки. Ко второму отростку форсунки присоединена труба 9, идущая к колесу паровоза.
В прилив форсунки ввернут штуцер 3, к которому подсоединяют трубку, подводящую воздух от крана. В приливе просверлено также сквозное отверстие, куда ввернуто сопло 5, сделанное после унификации удлиненным.
Воздух из камеры А по каналу проходит в камеру Б и попадает к соплу 5. Сильная струя воздуха, выходящая из сопла, захватывает песок и увлекает его в трубу 9. Из камеры Б просверлен канал В, по которому часть воздуха проходит в корпус форсунки и разрыхляет там песок.
Винтом 2, выполненным таким же, как у унифицированной форсунки, регулируется подача воздуха и песка. Отверстия в приливе корпуса, закрытые пробками 1 и 4, служат для прочистки каналов форсунки. Также для прочистки служит отверстие, закрытое пробкой 7.
Для приведения в действие песочницы в будке машиниста установлен унифицированный воздухораспределительный кран песочницы (рис. 282), состоящий из следующих основных частей: корпуса 5, крышки 2, золотника 1, рукоятки 4 и пружины 7.
Чугунный корпус имеет три прилива со сверлениями, в которые ввертывают штуцеры 6, соединяемые с воздухопроводными трубками. Внутренняя обработанная плоскость (лицо) корпуса, на которой установлен золотник, тремя каналами диаметром 6 мм соединена со сверлениями в приливах.
Стальной золотник на рабочей плоскости имеет .латунную наплавку и притирается к лицу корпуса. Пружиной 7 золотник прижимается к лицу. В золотнике имеется четыре отверстия диаметром 6 мм, лишь в определенных положениях совпадающих с отверстиями в корпусе. Посредством хвостовика, проходящего через отверстие, золотник крепится к корпусу гайкой. На квадрат хвостовика надета рукоятка 4.
Крышка 2, закрывающая золотник, прикреплена к корпусу болтами; в ней имеется прилив с отверстием, куда ввертывают штуцер 8 воздухопроводной трубки.
Воздух из воздушного резервуара или от воздухораспределительной колонки через штуцер 8 поступает в камеру между корпусом и крышкой, откуда в зависимости от положения золотника направляется в соответствующйе сверления в приливах корпуса и далее в трубки.
Рукоятка и связанный с ней золотник крана песочницы имеют пять положений:
- I — подача песка под 1, 2 и 4-ю колесные пары;
- II — подача песка под 1-ю сцепную колесную пару;
- III — перекрыша;
- IV — подача песка под I, 2, 3 и 4-ю колесные пары;
- V — подача песка под 2 и 4-ю колесные пары при заднем ходе.
На лицевой стороне корпуса укреплена планка с выбитыми цифрами и буквами, показывающими положение рукоятки крана.
Подачу воздуха к форсункам проверяют через три контрольных отверстия, выходящих в сверления приливов, и одно отверстие в верхней части корпуса, закрытое винтом 3.
Для исправной работы песочницы требуется постоянное наблюдение за ней со стороны паровозной бригады. Если песок не поступает на рельсы при включенной песочнице, то прежде всего необходимо проверить — поступает ли песок в форсунку. Для этого нужно отвернуть пробку, установленную на патрубке 6, а также пробку 7 в корпусе форсунки (см. рис. 281). Если песок через эти отверстия поступает, значит засорено сопло 5 или канал В форсунки или забита песком песочная труба 9. Сопло и канал форсунки прочищают тонкой проволокой. Песочную трубу следует попытаться очистить легким обстукиванием молотком, а если это не поможет, трубу нужно снять, нагреть и очистить от песка.

